0
ETI    SIEMENS    ABB    WIKA    IFM    ELKO EP    HYUNDAI    VEGA    KSR KUEBLER    Johnson Controls    Siemens IA/DT (CA01)    Bosch Rexroth    Alfa Laval    SICK    Others  

IM18-05BUS-ZU0

Код: 7902122
Связатся с нами: 067 285 7770

В корзину

Показать всё Скрыть всё

  • Характеристики
    Тип корпусаЦилиндрический с резьбой
    Конструкция корпусаСтандарт
    Размер резьбыM18 1
    ДиаметрØ 18 mm
    Расстояние срабатывания Sn5 mm
    Расстояние срабатывания обеспечено Sa4,05 mm
    МонтажВровень
    Частота переключения

    25 Hz 1)

    100 Hz 2)

    Тип подключенияКабель, 2-жильный, 2 m
    Функция выходаНормально открытый
    Электрическое исполнениеПерем./пост. ток, 2-проводной
    Тип защитыIP67 3)
    • 1) Перем. ток.
    • 2) Пост. ток.
    • 3) Согласно EN 60529.
  • Механика/электроника
    Напряжение питания20 V AC/DC ... 250 V AC/DC
    Падение напряжения≤ 6,5 V AC, ≤ 6 V DC
    Задержка готовности≤ 8 ms
    Гистерезис1 % ... 15 %
    Воспроизводимость≤ 10 % 1) 2) 3)
    Отклонение температуры (от Sr)± 10 %
    ЭМСПо EN 55011, класс В
    Постоянный ток Ia

    ≤ 350 mA 4)

    ≤ 250 mA 5)

    ≤ 100 mA 6)

    Остаточный ток

    ≤ 2,5 mA (AC 250 V)

    ≤ 1,3 mA (AC 110 V)

    ≤ 0,8 mA (DC 24 V)

    Минимальный ток нагрузки≥ 5 mA
    Кратковременный ток2,2 A 7)
    Материал кабеляПолиуретан
    Поперечное сечение кабеля0,5 mm²
    Защита от короткого замыкания– 8)
    Подавление импульса включения
    Ударопрочность и виброустойчивость30 г, 11 мс/10…55 Гц, 1 мм
    Диапазон температур при работе–25 °C ... +80 °C
    Материал корпусаМеталл, никелированная латунь
    Материал, активная поверхностьПластик, Пластик
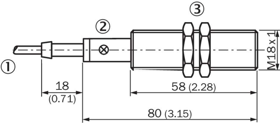
    Длина корпуса80 mm
    Полезная длина резьбы58 mm
    Макс. момент затяжки≤ 35 Nm
    Класс защитыII
    Расчетное напряжение на изоляции Ui250 V AC
    Категория потребленияAC-140 9)
    Степень загрязнения3
    Максимально допустимое импульсное напряжение4 kV
    • 1) Ub и Ta постоянны.
    • 2) От Sr.
    • 3) Точность воспроизведения.
    • 4) AC (+50 °C).
    • 5) AC (+80 °C).
    • 6) Пост. ток.
    • 7) 20 ms / 0,5 Hz.
    • 8) Миниатюрный предохранитель согласно IEC60217-2 лист 1, ≤ 2 A (быстродействующий).
    • 9) Контроллер малых электромагнитных нагрузок с удерживающими токами < 200 мА.
  • Коэффициенты редукции
    ПримечаниеЗначения являются ориентировочными и могут изменяться
    Нержавеющая сталь (V2A)Ок. 0,8
    Алюминий (Al)Ок. 0,45
    Медь (Cu)Ок. 0,4
  • Указания по установке
    ПримечаниеСоответствующие графические материалы см. в разд. «Указания по установке»
    A0 mm
    B18 mm
    C18 mm
    D15 mm
    E0 mm
    F40 mm
  • Классификации
    ECl@ss 5.027270101
    ECl@ss 5.1.427270101
    ECl@ss 6.027270101
    ECl@ss 6.227270101
    ECl@ss 7.027270101
    ECl@ss 8.027270101
    ECl@ss 8.127270101
    ECl@ss 9.027270101
    ETIM 5.0EC002714
    ETIM 6.0EC002714
    UNSPSC 16.090139122230
Показать всё Скрыть всё

Технические чертежи

Указания по установке Монтаж заподлицо Схема соединений cd-020 Габаритный чертеж IM18, AC/DC 2-провод., кабель, вровень с плоскостью Вид: Галерея Список Показать всё Скрыть всё
Показать всё Скрыть всё