0
ETI    SIEMENS    ABB    WIKA    IFM    ELKO EP    HYUNDAI    VEGA    KSR KUEBLER    Johnson Controls    Siemens IA/DT (CA01)    Bosch Rexroth    Alfa Laval    SICK    Others  

MM12-60A-N-ZC0

Код: 7900287
Связатся с нами: 067 285 7770

В корзину

Показать всё Скрыть всё

  • Характеристики
    Тип корпусаЦилиндрический с резьбой
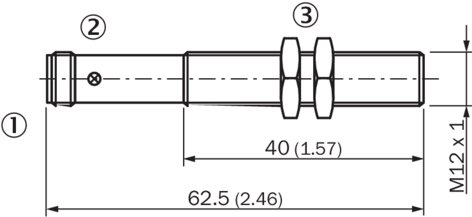
    Размер резьбыM12 1
    ДиаметрØ 12 mm
    Расстояние срабатывания Sn5 mm ... 60 mm 1)
    Расстояние срабатывания обеспечено Sa48,6 mm
    Номинальная чувствительность срабатывания≤ 1 mT
    Частота переключения5.000 Hz
    Тип подключенияРазъем M12, 4-конт.
    Переключающий выходNAMUR
    Свойства переключения по выборуУправляющий ток, не зависящий от состояния переключения, согласно NAMUR EN 60947-5-6
    Электрическое исполнениеПост. ток, 2-проводный
    Магнитное выравниваниеОсевая
    Тип защитыIP67 2)
    • 1) Расстояние срабатывания относительно установки в немагнитных материалах с магнитом MAG-3010-B (M4.0).
    • 2) Согласно EN 60529.
  • Механика/электроника
    Остаточная пульсация≤ 5 % 1)
    Задержка готовности≤ 2 ms
    Гистерезис1 % ... 10 %
    Воспроизводимость≤ 1 % 2)
    Отклонение температуры (от Sr)± 10 %
    ЭМССогласно EN 60947-5-2
    Потребляемый ток демпфированный≥ 2,5 mA
    Потребляемый ток недемпфированный≤ 1 mA
    Сопротивление провода≤ 50 Ω
    Защита от обрыва проводов
    Защита от короткого замыкания
    Защита от инверсии полярности
    Ударопрочность и виброустойчивость30 г, 11 мс/10…55 Гц, 1 мм
    Диапазон температур при работе–25 °C ... +70 °C
    Материал корпусаМеталл, никелированная латунь
    Длина корпуса62,5 mm
    Полезная длина резьбы40 mm
    Макс. момент затяжки≤ 7 Nm
    Комплект поставкиКрепежная гайка (2 шт.)
    Свидетельство ЕС об испытаниях промышленного образцаTÜV 99 ATEX 1398
    Маркировка взрывобезопасности (ATEX)EX II 2G Ex ib IIC T6 Gb Ta: - 25 °C ... + 70 °C
    Категория взрывоопасной зоны2G
    Макс. входное напряжение Ui16 V 3)
    Макс. входная мощность Ui100 mW 3)
    Макс. входной ток Ii30 mA 3)
    Макс. внутренняя емкость Ci15 nF 3)
    Макс. внутренняя индуктивность Li35 µH 3)
    Номинальное напряжение8,2 V DC
    • 1) От UV.
    • 2) От Sr, (UV и Ta пост.).
    • 3) Только для подключения в электрическом искробезопасном контуре, сертифицируемом отдельно.
  • Классификации
    ECl@ss 5.027270104
    ECl@ss 5.1.427270104
    ECl@ss 6.027270104
    ECl@ss 6.227270104
    ECl@ss 7.027270104
    ECl@ss 8.027270104
    ECl@ss 8.127270104
    ECl@ss 9.027270104
    ETIM 5.0EC002544
    ETIM 6.0EC002544
    UNSPSC 16.090139122230
Показать всё Скрыть всё

Технические чертежи

Схема соединений cd-015 Габаритный чертеж MM12 Namur, штекер Диаграмма расстояний срабатывания Вид: Галерея Список Показать всё Скрыть всё
Показать всё Скрыть всё