0
ETI    SIEMENS    ABB    WIKA    IFM    ELKO EP    HYUNDAI    VEGA    KSR KUEBLER    Johnson Controls    Siemens IA/DT (CA01)    Bosch Rexroth    Alfa Laval    SICK    Others  

TTK70-AXA0-K02

Код: 1038033
Связатся с нами: 067 285 7770

В корзину

Показать всё Скрыть всё

  • Производительность
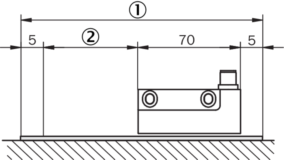
    Длина измерения≤ 3.920 mm
    Разрешение1 µm
    Длина периода1 mm
    Скорость перемещения

    < 10 m/s, динамический режим работы (Sin/Cos)

    < 2 m/s, статический режим работы (SSI)

    Точность воспроизведения≤ ± 2 µm
    Системная точность± 10 µm
  • Интерфейсы
    Электрический интерфейсSSI + Sin/Cos
    Интерфейс, цифровой, последовательный

    SSI, 24 бит, серый

    Sin/Cos 1,0 VSS

  • Электрические данные
    Напряжение питания4,5 V ... 30 V
    Рабочий ток55 mA (без нагрузки)
    Потребляемая мощность≤ 1,2 W
    Тип подключенияРазъем, M12, 8-контактный
    MTTFd: время до опасного выхода из строя65 лет (EN ISO 13849) 1)
    • 1) Данный продукт является стандартным изделием, а не предохранительным устройством, в соответствии с директивой по машиностроению. Расчет на основе номинальной нагрузки компонентов, средней температуры окружающей среды 40 °C, частота применения 8760 ч./год. Все выходы из строя электрических систем рассматриваются как опасные выходы из строя. Более подробная информация приведена в документе № 8015532.
  • Механические данные
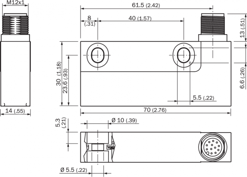
    РазмерыСм. размерный чертеж
    Вес0,08 kg
    Материал, считывающая головкаЦинк, литье под давлением
    Материал, ленточный носительНержавеющая сталь
  • Данные окружающей среды
    ЭМСПо EN 61000-6-2 и EN 61000-6-3
    Тип защитыIP67, при установленном ответном штекере (согласно IEC 60529)
    Диапазон рабочей температуры–30 °C ... +85 °C
    Диапазон температуры при хранении–40 °C ... +85 °C
    Допустимая относительная влажность воздуха100 %, Допускается образование конденсата
    Ударопрочность30 g, 6 ms (EN 60068-2-27)
    Вибростойкость20 g, 10 Hz ... 2.000 Hz (EN 60068-2-6)
    Допустимая максимальная напряженность окружающего поля< 3 kA/m ... 4 kA/m (3.8 mT ... 5 mT), чтобы были соблюдены значения точности 1)
    Допустимая максимальная напряженность поля< 150 kA/m (< 190 mT), чтобы не вызвать необратимое разрушение магнитной ленты
    • 1) Максимально допустимое влияние внешнего поля достигнуто, если значение положения отклоняется более чем на 5 мкм от первоначального значения (без влияния внешнего поля). Это значение достигается, если на месте установки датчика существует напряженность поля 3...4 кА/м (3,8...5 мТ) дополнительно к напряженности поля магнитной ленты.
  • Классификации
    ECl@ss 5.027270705
    ECl@ss 5.1.427270705
    ECl@ss 6.027270705
    ECl@ss 6.227270705
    ECl@ss 7.027270705
    ECl@ss 8.027270705
    ECl@ss 8.127270705
    ECl@ss 9.027270705
    ETIM 5.0EC002544
    ETIM 6.0EC002544
    UNSPSC 16.090141111613
Показать всё Скрыть всё

Технические чертежи

Габаритный чертеж Считывающая головка, штекерный разъём Допуск положения Схема контактов Вид со стороны вставки, штекер M12 Bild Интерфейс SSI Сигнальные выходы Сигналы интерфейса SIN/COS после вычитания Сигнальные выходы Сигналы интерфейса SIN/COS после вычитания Bedienhinweis Вид: Галерея Список Показать всё Скрыть всё
Показать всё Скрыть всё