0
ENG: DS III series (HART, PROFIBUS PA, Foundation Fieldbus)

SITRANS P pressure transmitters, DS III series, are digital pressure transmitters featuring extensive user-friendliness and high accuracy. The parameterization is performed using control keys, over HART communication, PROFIBUS-PA or Foundation Fieldbus interface.

Extensive functionality enables the pressure transmitter to be precisely adapted to the plant's requirements. Operation is very simple in spite of the numerous setting options.

Transmitters with type of protection "Intrinsic safety" and "Explosion-proof" may be installed within potentially explosive atmospheres (zone 1) or in zone 0. The transmitters are provided with an EC type examination certificate and comply with the corresponding harmonized European standards (ATEX).

The transmitters can be equipped with various designs of remote seals for special applications such as the measurement of highly viscous substances.

Various versions of the DS III pressure transmitters are available for measuring:

  • Gage pressure
  • Absolute pressure
  • For differential pressure transmitters
  • Filling level
  • Mass
  • Volume
  • Volume flow
  • Mass flow

 


Особенности

ENG: DS III series (HART, PROFIBUS PA, Foundation Fieldbus)
  • High quality and service life
  • High reliability even under extreme chemical and mechanical loads
  • For aggressive and non-aggressive gases, vapors and liquids
  • Extensive diagnosis and simulation functions
  • Separate replacement of measuring cell and electronics without recalibration
  • Minimum conformity error
  • Small long-term drift
  • Wetted parts made of high-grade materials (e.g. stainless steel, Hastelloy, gold, Monel, tantalum)
  • Infinitely adjustable span from 0.01 bar to 700 bar (0.15 psi to 10153 psi) for DS III with HART interface
  • Nominal measuring range from 1 bar to 700 bar (14.5 psi to 10153 psi) for DS III with PROFIBUS PA and Foundation Fieldbus interface
  • High measuring accuracy
  • Parameterization over control keys and HART communication, PROFIBUS PA communication or Foundation Fieldbus interface.

 


Область применения

ENG: DS III series (HART, PROFIBUS PA, Foundation Fieldbus)

The pressure transmitters of the DS III series, can be used in industrial areas with extreme chemical and mechanical loads. Electromagnetic compatibility in the range 10 kHz to 1 GHz makes the DS III pressure transmitters suitable for locations with high electromagnetic emissions.

Pressure transmitters with type of protection "Intrinsic safety" and "Explosion-proof" may be installed within potentially explosive atmospheres (zone 1) or in zone 0. The pressure transmitters are provided with an EC type examination certificate and comply with the corresponding harmonized European standards (ATEX).

Pressure transmitters with the type of protection "Intrinsic safety" for use in zone 0 may be operated with power supply units of category "ia" and "ib".

The transmitters can be equipped with various designs of remote seals for special applications such as the measurement of highly viscous substances.

The pressure transmitter can be operated locally over 3 control buttons or programmed externally over HART communication or over PROFIBUS PA or Foundation Fieldbus interface.

Pressure transmitter for gauge pressure
  • Measured variable: Gauge pressure of aggressive and non-aggressive gases, vapors and liquids.
  • Span (infinitely adjustable)for DS III HART: 0.01 bar to 700 bar (0.15 psi to 10153 psi)
  • Nominal measuring rangefor DS III PA and FF: 1 bar to 700 bar (14.5 psi to 10153 psi)
Pressure transmitters for absolute pressure
  • Measured variable: Absolute pressure of aggressive and non-aggressive gases, vapors and liquids.
  • Span (infinitely adjustable)for DS III HART: 8.3 mbar a ... 100 bar a (0.12 ... 1450 psi)
  • Nominal measuring rangefor DS III PA and FF: 250 mbar a ... 100 bar a (3.6 ... 1450 psi)
  • There are two series:
    • Gauge pressure series
    • Differential pressure series
Pressure transmitters for differential pressure and flow
  • Measured variables:
    • Differential pressure
    • Small positive or negative pressure
    • Flow q ~ √Δp (together with a primary differential pressure device (see Chapter "Flowmeters"))
  • Span (infinitely adjustable)for DS III HART: 1 mbar ... 30 bar (0.0145 ... 435 psi)
  • Nominal measuring rangefor DS III PA and FF: 20 mbar ... 30 bar (1.45 ... 435 psi)
Pressure transmitters for level
  • Measured variable: Level of aggressive and non-aggressive liquids in open and closed vessels.
  • Span (infinitely adjustable)for DS III HART: 25 mbar ... 5 bar (0.363 ... 72.5 psi)
  • Nominal measuring rangefor DS III PA and FF: 250 mbar ... 5 bar (3.63 ... 72.5 psi)
  • Nominal diameter of the mounting flange
    • DN 80 or DN 100
    • 3 inch or 4 inch

In the case of level measurements in open containers, the low-pressure connection of the measuring cell remains open (measurement "compared to atmospheric").

In the case of measurements in closed containers, the lower-pressure connection has to be connected to the container in order to compensate the static pressure.

The wetted parts are made from a variety of materials, depending on the degree of corrosion resistance required.

 


Дизайн

ENG: DS III series (HART, PROFIBUS PA, Foundation Fieldbus)

Front view

The transmitter consists of various components depending on the order. The possible versions are listed in the ordering information. The components described below are the same for all transmitters.

The rating plate (3, Figure "Front view") with the Order No. is located on the side of the housing. The specified number together with the ordering information provide details on the optional design details and on the possible measuring range (physical properties of built-in sensor element).

The approval label is located on the opposite side.

The housing is made of die-cast aluminium or stainless steel precision casting. A round cover is screwed on at the front and rear of the housing. The front cover (6) can be fitted with a viewing pane so that the measured values can be read directly on the digital display. The inlet (4) for the electrical connection is located either on the left or right side. The unused opening on the opposite side is sealed by a blanking plug. The protective earth connection is located on the rear of the housing.

The electrical connections for the power supply and screen are accessible by unscrewing the rear cover. The bottom part of the housing contains the measuring cell with process connection (1). The measuring cell is prevented from rotating by a locking screw (8). As the result of this modular design, the measuring cell and the electronics can be replaced separately from each other. The set parameter data are retained.

At the top of the housing is a plastic cover (5), which hides the input keys.

Example for an attached measuring point label

 


Функции

ENG: DS III series (HART, PROFIBUS PA, Foundation Fieldbus)
Mode of operation of the DS III HART electronics

Function diagram of the electronics

The bridge output voltage created by the sensor (1, Figure "Function diagram of the electronics“) is amplified by the instrument amplifier (2) and digitized in the analog-to-digital converter (3). The digital information is evaluated in a microcontroller, its linearity and temperature response corrected, and converted in a digital-to-analog converter (5) into an output current of 4 to 20 mA.

The diode circuit (10) protects against incorrect polarity.

The data specific to the measuring cell, the electronics data, and the parameter data are stored in the two non-volatile memories (6). The one memory is coupled to the measuring cell, the other to the electronics. As the result of this modular design, the electronics and the measuring cell can be replaced separately from each other.

Using the 3 input keys (8) you can parameterize the pressure transmitter directly at the point of measurement. The input keys can also be used to control the view of the results, the error messages and the operating modes on the digital display (9).

The HART modem (7) permits parameterization using a protocol according to the HART specification.

The pressure transmitters with spans ≤ 63 bar measure the input pressure compared to atmosphere, transmitters with spans ≥ 160 bar compared to vacuum.

Mode of operation of the DS III PA electronics

Function diagram of the electronics

The bridge output voltage created by the sensor (1, Figure "Function diagram of the electronics“) is amplified by the instrument amplifier (2) and digitized in the analog-to-digital converter (3). The digital information is evaluated in the microcontroller, its linearity and temperature response corrected, and provided on the PROFIBUS PA through an electrically isolated PA interface (7).

The data specific to the measuring cell, the electronics data, and the parameter data are stored in the two non-volatile memories (6). The first memory is linked with the measuring cell, the second with the electronics. This modular design means that the electronics and the measuring cell can be replaced separately from one another.

Using the three input keys (8) you can parameterize the pressure transmitter directly at the point of measurement. The input keys can also be used to control the view of the results, the error messages and the operating modes on the digital display (9).

The results with status values and diagnostic values are transferred by cyclic data transmission on the PROFIBUS PA. Parameterization data and error messages are transferred by acyclic data transmission. Special software such as SIMATIC PDM is required for this.

Mode of operation of the DS III FF electronics

Function diagram of the electronics

The bridge output voltage created by the sensor (1, Figure "Function diagram of the electronics“) is amplified by the instrument amplifier (2) and digitized in the analog-to-digital converter (3). The digital information is evaluated in the microcontroller, its linearity and temperature response corrected, and provided on the Foundation Fieldbus through an electrically isolated Foundation Fieldbus Interface (7).

The data specific to the measuring cell, the electronics data, and the parameter data are stored in the two non-volatile memories (6). The one memory is coupled to the measuring cell, the other to the electronics. As the result of this modular design, the electronics and the measuring cell can be replaced separately from each other.

Using the three input keys (8) you can parameterize the pressure transmitter directly at the point of measurement. The input keys can also be used to control the view of the results, the error messages and the operating modes on the digital display (9).

The results with status values and diagnostic values are transferred by cyclic data transmission on the Foundation Fieldbus. Parameterization data and error messages are transferred by acyclic data transmission. Special software such as National Instruments Configurator is required for this.

Mode of operation of the measuring cells

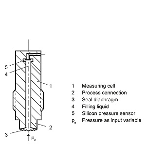
Measuring cell for gage pressure

Measuring cell for gage pressure, function diagram

The pressure pe is applied through the process connection (2, Figure "Measuring cell for gage pressure, function diagram) to the measuring cell (1). This pressure is subsequently transmitted further through the seal diaphragm (3) and the filling liquid (4) to the silicon pressure sensor (5) whose measuring diaphragm is then flexed. This changes the resistance of the four piezo-resistors fitted in the diaphragm in a bridge circuit. This change in resistance results in a bridge output voltage proportional to the input pressure.

Measuring cell for gage pressure, with front-flush diaphragm for paper industry

Measuring cell for gage pressure, with front-flush diaphragm for paper industry, function diagram

The pressure pe is applied through the process connection (2, Figure "Measuring cell for gage pressure, with front-flush diaphragm for paper industry, function diagram") to the measuring cell (1). This pressure is subsequently transmitted further through the seal diaphragm (3) and the filling liquid (4) to the silicon pressure sensor (5) whose measuring diaphragm is then flexed. This changes the resistance of the four piezo-resistors fitted in the diaphragm in a bridge circuit. This change in resistance results in a bridge output voltage proportional to the input pressure.

Measuring cell for absolute pressure from gage pressure series

Measuring cell for absolute pressure from the pressure series, function diagram

The absolute pressure pe is transmitted through the seal diaphragm (3, Figure "Measuring cell for absolute pressure from gage pressure series, function diagram“) and the filling liquid (4) to the silicon absolute pressure sensor (5) whose measuring diaphragm is then flexed. This changes the resistance of the four piezo-resistors fitted in the diaphragm in a bridge circuit. This change in resistance results in a bridge output voltage proportional to the input pressure.

Measuring cell for absolute pressure from differential pressure series

Measuring cell for absolute pressure from differential pressure series, function diagram

The input pressure pe is transmitted through the seal diaphragm (6, Figure "Measuring cell for absolute pressure from differential pressure series, function diagram“) and the filling liquid (8) to the silicon pressure sensor (3).

The difference in pressure between the input pressure pe and the reference vacuum (1) on the low-pressure side of the measuring cell flexes the measuring diaphragm. The resistance of the four piezo-resistors fitted in the diaphragm in a bridge circuit thus changes. This change in resistance results in a bridge output voltage proportional to the absolute pressure.

An overload diaphragm is installed to provide protection from overloads. If the measuring limits are exceeded, the overload diaphragm (2) is flexed until the seal diaphragm rests on the body of the measuring cell (7), thus protecting the silicon pressure sensor from overloads.

Measuring cell for differential pressure and flow

Measuring cell for differential pressure and flow, function diagram

The differential pressure is transmitted through the seal diaphragms (1, Figure "Measuring cell for differential pressure and flow, function diagram") and the filling liquid (7) to the silicon pressure sensor (4).

The measuring diaphragm is flexed by the applied differential pressure. This changes the resistance of the four piezo-resistors fitted in the diaphragm in a bridge circuit. This change in resistance results in a bridge output voltage proportional to the absolute pressure.

An overload diaphragm is installed to provide protection from overloads. If the measuring limits are exceeded, the overload diaphragm (2) is flexed until the seal diaphragm rests on the body of the measuring cell (7), thus protecting the silicon pressure sensor from overloads.

Measuring cell for level

Measuring cell for level, function diagram

The input pressure (hydrostatic pressure) acts hydraulically on the measuring cell through the seal diaphragm on the mounting flange (2, Figure "Measuring cell for level, function diagram"). This differential pressure is subsequently transmitted further through the measuring cell (3) and the filling liquid (9) to the silicon pressure sensor (6) whose measuring diaphragm is then flexed.

This changes the resistance of the four piezo-resistors fitted in the diaphragm in a bridge circuit.

This change in resistance results in a bridge output voltage proportional to the differential pressure.

An overload diaphragm is installed to provide protection from overloads. If the measuring limits are exceeded, the overload diaphragm (2) is flexed until the seal diaphragm rests on the body of the measuring cell (7), thus protecting the silicon pressure sensor from overloads.

Parameterization DS III

Depending on the version, there are a range of options for parameterizing the pressure transmitter and for setting or scanning the parameters.

Parameterization using the input keys (local operation)

With the input keys you can easily set the most important parameters without any additional equipment.

Parameterization using HART communication

Parameterization using HART communication is performed with a HART communicator or a PC.

Cmmunication between a HART communicator and a pressure transmitter

When parameterizing with the HART communicator, the connection is made directly to the 2-wire system.

HART communication between a PC communicator and a pressure transmitter

When parameterizing with a PC, the connection is made through a HART modem.

The signals needed for communication in conformity with the HART 5.x or 6.x protocols are superimposed on the output current using the Frequency Shift Keying (FSK) method.

Adjustable parameters, DS III HART

Parameters

Input keys (DS III HART)

HART communication

Start of scale

x

x

Full-scale value

x

x

Electrical damping

x

x

Start-of-scale value without application of a pressure ("Blind setting")

x

x

Full-scale value without application of a pressure ("Blind setting")

x

x

Zero adjustment

x

x

Current transmitter

x

x

Fault current

x

x

Disabling of keys, write protection

x

x1)

Type of dimension and actual dimension

x

x

Characteristic (linear / square-rooted)

x2)

x2)

Input of characteristic

 

x

Freely-programmable LCD

 

x

Diagnostics functions

 

x

1) Cancel apart from write protection

2) Only differential pressure

Diagnostic functions for DS III HART

  • Zero correction display
  • Event counter
  • Limit transmitter
  • Saturation alarm
  • Slave pointer
  • Simulation functions
  • Maintenance timer

Available physical units of display for DS III HART

Table style: Technical specifications 2

Physical variable

Physical dimensions

Pressure (setting can also be made in the factory)

Pa, MPa, kPa, bar, mbar, torr, atm, psi, g/cm2, kg/cm2, inH2O, inH2O (4 °C), mmH2O, ftH2O (20 °C), inHg, mmHg

Level (height data)

m, cm, mm, ft, in

Volume

m3, dm3, hl, yd3, ft3, in3, US gallon, lmp. gallon, bushel, barrel, barrel liquid

Mass

g, kg, t, lb, Ston, Lton, oz

Volume flow

m3/d, m3/h, m3/s, l/min, l/s, ft3/d, ft3/min, ft3/s, US gallon/min, US gallon/s

Mass flow

t/d, t/h, t/min, kg/d, kg/h, kg/min, kg/s, g/d, g/h, g/min, g/s, lb/d, lb/h, lb/min, lb/s, LTon/d, LTon/h, STon/d, STon/h, STon/min

Total mass flow

t, kg, g, lb, oz, LTon, STon

Temperature

K, °C, °F, °R

Miscellaneous

%, mA

Parameterization through PROFIBUS PA interface

Fully digital communication through PROFIBUS PA, profile 3.0, is particularly user-friendly. The PROFIBUS puts the DS III PA is in connection with a process control system, e.g. SIMATIC PSC 7. Communication is possible even in a potentially explosive environment.

For parameterization through PROFIBUS you need suitable software, e.g. SIMATIC PDM (Process Device Manager).

Parameterization through Foundation Fieldbus Interface

Fully digital communication through Foundation Fieldbus is particularly user-friendly. Through the Foundation Fieldbus the DS III FF is connected to a process control system. Communication is possible even in a potentially explosive environment.

For parameterization through the Foundation Fieldbus you need suitable software, e.g. National Instruments Configurator.

Adjustable parameters for DS III PA and FF

Parameters

Input keys (DS III HART)

PROFIBUS PA and Foundation Fieldbus interface

Electrical damping

x

x

Zero adjustment (correction of position)

x

x

Key and/or function disabling

x

x

Source of measured-value display

x

x

Physical dimension of display

x

x

Position of decimal point

x

x

Bus address

x

x

Adjustment of characteristic

x

x

Input of characteristic

 

x

Freely-programmable LCD

 

x

Diagnostics functions

 

x

Diagnostic functions for DS III PA and FF

  • Event counter
  • Slave pointer
  • Maintenance timer
  • Simulation functions
  • Display of zero correction
  • Limit transmitter
  • Saturation alarm

Physical dimensions available for the display

Physical variable

Physical dimensions

Pressure (setting can also be made in the factory)

MPa, kPa, Pa, bar, mbar, torr, atm, psi, g/cm2, kg/cm2, mmH2O, mmH2O (4 °C), inH2O, inH20 (4°°C), ftH2O (20 °C), mmHg, inHg

Level (height data)

m, cm, mm, ft, in, yd

Volume

m3, dm3, hl, yd3, ft3, in3, US gallon, lmp. gallon, bushel, barrel, barrel liquid

Volume flow

m3/s, m3/min, m3/h, m3/d, l/s, l/min, l/h, l/ d, Ml/d, ft3/s, ft3/min, ft3/h, ft3/d, US gallon/s, US gallon/min, US gallon/h, US gallon/d, bbl/s, bbl/min, bbl/h, bbl/d

Mass flow

g/s, g/min, g/h, g/d, kg/s, kg/min, kg/h, kg/d, t/s, t/min, t/h, /t/d, lb/s, lb/min, lb/h, lb/d, STon/s, STon/min, STon/h, STon/d, LTon/s, LTon/min, LTon/h, LTon/d

Temperature

K, °C, °F, °R

Miscellaneous

%