0

Разделы

Контроллеры платформы Facility Explorer


grey line

FX15 Universal

Свободнопрограммируемые контроллеры

 


Контроллер FX15 (Универсальный) является компактным свободнопрограммируемым контроллером в модельном ряду Facility Explorer. Контроллер специально разработан для применения в коммерческих системах вентиляции, кондиционирования воздуха и отопления, а также в системах охлаждения HVAC/R, таких как чиллеры, руфтопы, приточно-вытяжные установки, прецизионные кондиционеры. Контроллер FX15 имеет 26 физических входов и выходов и поддерживает широкий спектр датчиков температуры и приводных устройств. Также поддерживаются активные датчики для контроля влажности, давления и других физических величин.


До 64 дополнительных физических входов и выходов могут быть добавлены при подключении модулей расширения XT/XP по локальной шине N2 Open. Контроллер полностью конфигурируется и программируется с использованием пакета программ FX Tools Pro для применения в широком спектре HVAC/R систем.


Для свободнопрограммируемого контроллера FX15 доступны сменные коммуникационные модули, позволяющие интегрировать контроллер в N2 Open или LonWorks® совместимую BMS — Систему Автоматизации Здания. FX15 также включает в себя встроенные часы реального времени для поддержки планирования пусков-остановов оборудования и основанных на реальном времени управляющих последовательностей.



Свободнопрограммируемые контроллеры FX15 Universal


• Возможность выбора коммуникационных карт
• Встроенные часы реального времени
• Программирование и конфигурирование с помощью пакета программ FX Tools Pro
• Программно конфигурируемые аналоговые входы
• Интерфейсы пользователя, встроенные или выносные
• Гальваническая развязка между электропитанием, каналами ввода/вывода и процессором

plan
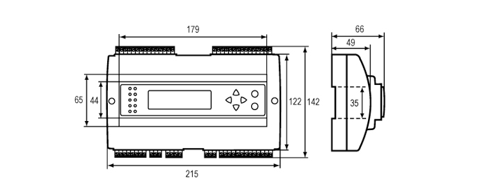
Размеры в мм