0

Разделы

Линейные приводы для промышленных клапанов


grey line

MP8000

Пневматические приводы

 

Пневматические приводы серии МР8000 предназначены для точного позиционирования клапанов, установленных в больших чиллерах, водонагревателях и паровых установках, управляемых с помощью пневмосигнала, подаваемого контроллером. Также доступны пневматические позиционеры для использования в применениях с последовательными операциями или при необходимости большей мощности и точности позиционирования.

 

Они могут быть заказаны в виде собранного на заводе и готового к установке комплекта клапан/привод или раздельно для монтажа на объекте. Этот мощный привод может устанавливаться на фланцевые клапаны VG8000 в соответствии с максимальным давлением закрытия, указанным в спецификации.







MP8000


• Пневматический позиционер
• Быстроразъёмное соединение
• Настройка направления движения без демонтажа клапана
• Дополнительный маховик ручного управления,
  устанавливаемый на заводе или на объекте
• Возможность установки вспомогательных выключателей
  и потенциометра обратной связи

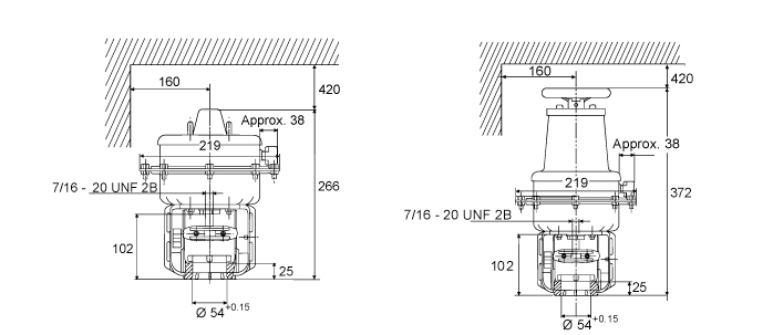
plan
Размеры в мм