0

Разделы

Общая информация о MASSFLO кориолисовых массовых расходомерах

Расходомер, работающий по принципу измерения силы Кориолиса, SITRANS F C MASSFLO предназначен для измерения любых жидкостей и газов. Этот универсальный прибор обеспечивает точное измерение массового расхода, объемного  расхода, плотности, температуры и расхода фракций.

 


Особенности

Общая информация о MASSFLO кориолисовых массовых расходомерах

Высокая гибкость

  • широкий спектр продуктов
  • Plug & Play для всех преобразователей сигналов с одним единственным интерфейсом преобразователя расхода
  • компактный или раздельный монтаж с одним и тем же преобразователем сигналов и преобразователем расхода

Простой ввод в эксплуатацию

Все кориолисовы расходомеры MASSFLO имеют оригинальный блок памяти SENSORPROM, в котором данные калибровки преобразователя расхода и установки преобразователя сигналов сохраняются в течение всего срока службы продукта.

При вводе в эксплуатацию расходомер сразу же начинает измерение без предварительного программирования.

Соответствующие размеру преобразователя расхода заводские установки сохранены в блоке SENSORPROM. Также туда могут сохраняться и спец. для пользователя установки. При замене преобразователя сигналов все прежние установки загружаются в новый преобразователь сигналов, который возобновляет измерение без перепрограммирования.

Простой ремонт

  • Расширенное меню самодиагностики и сервиса упрощает поиск ошибок и проверку прибора.
  • Новое программирование при замене преобразователя сигналов не требуется. SENSORPROM автоматически актуализирует все установки после инициализации.

Ориентация на будущее

USM II, универсальный сигнальный модуль с "Plug & Play", обеспечивает простой доступ к измерению расхода и его интеграции практически во все системы и протоколы шин и гарантирует простой переход расходомера на будущие коммуникационные и шинные платформы .

 


Область применения

Общая информация о MASSFLO кориолисовых массовых расходомерах

Измерительные устройства массового расхода, работающие по принципу измерения Кориолиса, подходят для измерения любых жидкостей и газов. Измерение осуществляется независимо от изменения таких условий и параметров процесса, как температура, плотность, давление, вязкость, проводимость и профиль протока.

Благодаря такому многообразию монтаж расходомера является очень простым. Этот кориолисовый расходомер известен своей высокой точностью в широком динамическом диапазоне, что является решающим аргументом для использования во многих приложениях.

Основными сферами применения кориолисова расходомера являются различные отрасли промышленности, например:

Пищевая и пиво-безалкогольная промышленность

Молочные продукты, пиво, вино, безалкогольные напитки, сахарометры/ареоматры, фруктовые соки и плодоягодные пюре, розлив, дозировка СО2, жидкости CIP 

Химическая фармацевтическаяпромышленность

Растворители, химикаты, фармацевтические продукты, кислоты, щелочи

Автомобильная промышленность

Проверка топливных форсунок и насосов, заполнение кондиционеров, расход двигателей, окрасочные роботы

Нефть и газ

Заполнение газовых балонов, управление горелками, подача природного газа под давлением, контрольные уловители, сжиженный газ

Воды сточные воды

Дозировка химикатов для водоподготовки

 


Функции

Общая информация о MASSFLO кориолисовых массовых расходомерах

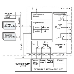
Принцип измерения расхода базируется на законе движения Кориолиса. Расходомер состоит из преобразователя расхода типа MASS 2100 или MC1 и преобразователя сигналов MASS 6000.

Преобразователь расхода MASS 2100 / MC1 приводится электромеханической цепью возбуждения, которая возбуждает колебания трубопровода на резонансной частоте.

Два сенсора, 1 и 2, располагаются симметрично с двух сторон задающего генератора . При прохождении жидкости или газа через преобразователь расхода кориолисова сила воздействует на измерительную трубку и вызывает отклонение трубы, которое может быть измерено на сенсоре 1 и 2 как пропорциональное массовому протоку смещение фаз.

Амплитуда задающего генератора автоматически регулируется через " PLL" для обеспечения стабильного выходного сигнала обоих сенсоров в диапазоне от 80 до 110 мВ.

Температура преобразователя расхода измеряется в мостовой схеме Уитстона через PT1000 (четырёхпроводная конструкция).

Пропорциональный расходу сигнал обоих сенсоров, измеренное значение температуры и частота возбуждения подаются в преобразователь сигналов MASS 6000 и преобразуются в пропорциональные расходу сигналы, служащие для вычисления массового расхода, объемного расхода, фракционного расхода, температуры и плотности.

Аналогово-цифровое преобразование осуществляется в малошумном ASIC с разрешением сигнала 23 бита. Функция передачи сигнала базируется на запатентованной технологии DFT (Discrete Fourier Transformation). ASIC это State Machine Gate Ar-ray, который обеспечивает быструю обработку и сглаживание сигналов и вызывает актуализацию массового расхода на 30 Гц .

При неблагоприятных условиях монтажа и эксплуатации производительность расходомера может быть улучшена с помощью встроенного в ASCI шумового фильтра. Это позволяет значительно уменьшить такие типичные помехи, вызванные шумами процесса, как вибрации насоса, механические колебания или вибрации вентилей.

Для целей коммуникации АSIC оснащен интерфейсом CAN со специфическим протоколом Siemens. Эта концепция известна как USM II (Universal Signal Modul). При этом к шине могут подключаться дополнительные выходные и коммуникационные модули. Это обеспечивает точное конфигурирование расходомера в соответствии с поставленной задачей.

Как только внутренняя шина CAN распознает установленный модуль, он через SENSORPROM автоматически программируется на заводские установки и на индикации MASS 6000 появляется новое меню.

SENSORPROM блок памяти

В настоящее время платформа USM управляет всеми имеющимися и разрабатываемыми коммуникационными протоколами, например, PROFIBUS DA, PROFIBUS PA, HART, CANopen, De-viceNet, MODBUS.

 


Интеграция

Общая информация о MASSFLO кориолисовых массовых расходомерах
Руководство по монтажу, общие указания

Монтаж преобразователей расхода MASS 2100 и MC1

Требования к монтажу/данные по конструкции системы

Расходомер SITRANS F C MASSFLO подходит для внутреннего и наружного монтажа. Стандартная конструкция прибора отвечает требованиям класса защиты IP67/NEMA 4X / IP65/NEMA 4. Расходомер работает реверсивно и может монтироваться в любом направлении.Необходимо обеспечить постоянное полное заполнение измерительных труб однородной жидкостью. Иначе возможны ошибки измерения.

Необходимо определить коррозиостойкость смачиваемых жидкостью материалов.

Падение давления из-за преобразователя расхода зависит от свойств жидкости и скорости расхода. Программа ProductSizing (http:///www.siemens.de/flow-productsizing) может быть использована для вычисления падения давления.

При монтаже учитывать следующие пункты:

Позиция монтажа

  • преобразователь расхода MASS 2100Наилучшей является горизонтальная позиция монтажа.
  • преобразователь расхода MC1Наилучшей является вертикальная позиция монтажа с направлением протока снизу вверх. См. следующие страницы .

Опоры

  • Для компенсации веса расходомера и обеспечения надежных измерений независимо от внешних воздействий (например, вибраций ), преобразователь расхода должен быть смонтирован в жесткий трубопровод. Две опоры или держателя должны  быть смонтированы симметрично и без натяжения в непосредственной близости от соединений с процессом.

 

Отсечные клапаны

  • Для настройки нулевой точки установки необходимо наличие отсечных клапанов в трубопроводе.
    • при горизонтальной позиции монтажа на выпуске для MC1 и на впуске для MASS 2100.
    • при вертикальной позиции монтаж на впуске.
  • По возможности установить отсечные клапаны как перед, так и после расходомера.

Прямые входные и выходные участки

  • Для массовых расходомеров массового протока не требуется прямых впускных и выпускных участков для согласования протока. Обязательно необходимо проследить, чтобы вентили, заслонки, смотровые стекла и т.п. не создавали кавитации и не начинали вибрировать из-за расходомера. 

Данные по конструкции системы

  • Находящиеся в жидкости пузырьки газа, особенно при измерении плотности, могут привести к ошибкам измерения. Поэтой причине не следует монтировать расходомер в высшей точке установки.Предпочтительным является монтаж в нижних участках трубопровода, например, на дне колена U.
  • Избегать длинных стояков после расходомера, чтобы не допустить опорожнения измерительной трубы.
  • Избегать контакта расходомера с посторонними предметами, надстройки на корпусе не допускаются.
  • Если поперечное сечение соединительного трубопровода прервышает диаметр преобразователя расхода, то могут быть установлены подходящие стандартные переходники.
  • Возможно имеющие место сильные вибрации в трубопроводе должны гаситься эластичными элементами трубопровода.Амортизирующие устройства должно устанавливаться вне участка на опорах с расходомером и вне участка между устройствами отключения . Избегать прямого подключения гибких элементов к преобразователю расхода .
  • Необходимо предотвратить высвобождение растворенных газов, встречающихся во многих жидкостях. Противодавление навыпуске должно составлять как минимум 0,1 до 0,2 бар .
  • При разряжении в измерительной трубе или при быстрокипящих жидкостях необходимо избегать работы ниже давления насыщенных паров.
  • Преобразователь расхода не должен монтироваться вблизи от сильных электромагнитных полей, например, двигателей,насосов, преобразователей и т.п.
  • При использовании нескольких массовых расходомеров в одном или нескольких соединенных друг с другом трубопроводах,измерительне датчики должны располагаться на достаточном расстоянии друг от друга или необходимо разъединить трубопроводы, чтобы избежать "Cross Talk" (перекрёстные наводки).

Установка нулевой точки

  • Для установки нулевой точки в рабочих условиях, необходима возможность установки количества расхода на “НОЛЬ” при полностью заполненной измерительной трубе. Если процесс не может быть остановлен, то оптимальным решением является обводная линия. Для точных измерений обязательно избегать пузырьков газа в расходомере при установке нулевой точки. Кроме этого давление и температура в измерительной трубе должны соответствовать значениям , наиболее часто встречающимся при работе .

 

 

Руководство по монтажу MASS 2100 DI 1.5 (1/16”)

Монтаж MASS 2100

  • Рекомендуется горизонтальная установка.

Если необходима вертикальная установка, то для лучшего устранения пузырьков воздуха рекомендуется направление протока снизу вверх. Для удаления воздуха из преобразователя расхода скорость протока в преобразователе расхода должна составлять мин. 1 м/сек.

При наличии твердых примесей в жидкости, особенно в комбинации с небольшим протоком, рекомендуется горизонтальное расположение преобразователя расхода и крайнее верхнее расположение впускного фланца для упрощения вымывания частиц. Для предотвращения частичного опорожнения преобразователя расхода необходимо достаточное противодавление в блоке (мин. 0,1 ... 0,2 бар). 

  • Прочно закрепить преобразователь расхода на стене или стальном каркасе.
  • Установить преобразователь расхода в нижней части системы, чтобы избежать разряжения в преобразователе расхода, которое может привести к воздухо- или газоотделению в жидкости.
  • Убедиться в том, что преобразователь расхода всегда заполнен (при обычной работе), так как опрожнение может привести к погрешностям измерения.

Горизонтально

Использование с жидкостями и газами

Вертикально

Использование с жидкостями (слево), использование с глазом (справа)

 

Руководство по монтажу MASS 2100 DI 3 ... DI 40 (1/8” ... 1½”)

Монтаж преобразователя расхода

Горизонтально (самодренаж)

Для небольшого расхода рекомендуется горизонтальная позиция монтажа, так как в этой позиции легче удаляются пузырьки воздуха.

Вертикально

 

Вибрации

Расходомер по возможности всегда должен монтироваться на макс. удалении от компонентов, создающих механические вибрации в трубопроводной системе.

 

Cross talk

Cross Talk (перекрестные наводки) между смонтированными близко друг от друга измерительными датчиками могут привести к помехам при измерении. Во  избежании Cross Talk можно монтировать только один расходомер на корпус; кроме этого отдельные преобразователи расхода должны быть соединены друг с другом через гибкие шланги (см. рисунок).

 

Установка нулевой точки

Для упрощения установки нулевой точки всегда необходимо монтировать вместе с преобразователем расхода првильно работающий запорный вентиль, так как правильная установка нулевой точки является обязательной для максимальной точности.

Руководство по монтажу MC1 DN 50 ... DN 150 (2” ... 8”)

Монтаж преобразователя расхода

Наилучшей является вертикальная позиция установки с направлением потока снизу вверх (см. рисунок). Преимуществом этого является то, что при скорости расхода ноль содержащиеся в жидкости твердые примеси осаждаются вниз, а пузырьки газа из измерительной трубки поднимаются вверх. Кроме этого возможно простое опорожнение измерительной трубы. Это предотвращает отложения.

Вертикальная установка:

Вертикальный монтаж - самодренаж (направление потока вверх)

Горизонтальная позиция установки:

Горизонтальный монтаж

Горизонтальная позиция установки, самодренаж:

Горизонтальная позиция установки, самодренаж, α 2° ... 4°

Монтаж в стояк

Показанная на следующем рисунке рекомендуемая позиция монтажа возможна только в том случае, если может быть установлен переходник или диафрагма с меньшим поперечным сечением, чтобы избежать частичного опорожнения преобразователя расхода при измерениях.

Монтаж в стояк

Проблематичные места монтажа

Скопление пузырьков воздуха или газа в измерительной трубе может привести к значительным неточностям. Рисунок ниже показывает примеры проблематичного монтажа. Монтаж в высшей точке системы (figure А) может привести к образованию воздушных пробок, которые приводят к значительным неточностям. Другим примером неудачной установки является монтаж непосредственно перед свободным выпуском (figure B) в стояке.

 

 

 


Технические данные

Общая информация о MASSFLO кориолисовых массовых расходомерах
Погрешность расходомера/cпецификации

Преобразователь расхода MASS MC1 и преобразователь сигналов MASS 6000

 

5%

50%

100%

DI 1.5 (1/16”)

1 кг/час

40 кг/час

65 кг/час

DI 3 (1/8”)

12 кг/час

125 кг/час

250 кг/час

DI 6 (¼”)

50 кг/час

500 кг/час

1000 кг/час

DI 15 (½”)

280 кг/час

2800 кг/час

5600 кг/час

DI 25 (1”)

1250 кг/час

12500 кг/час

25000 kг/час

DI 40 (1½”)

2600 кг/час

26000 кг/час

52000 кг/час

E = погрешность[%]Z = погрешность нулевой точки [kg/h]qm = массовый расход [кг/час]

 

Тип преобразователя расхода

MASS 2100

Диаметр преобразователя расхода

DI 1.5 (1/16”)

DI 3 (1/8”)

DI 6 (¼“)

DI 15 (½“)

DI 25 (1”)

DI 40 (1½“)

Кол-во измерительных труб

1

1

1

1

1

1

Массовый расход:

 

 

 

 

 

 

 

Линейная погрешность

% от расхода

0.10

0.10

0.10

0.10

0.10

0.10

Погрешностьвоспроизводимости

% от расхода

0.05

0.05

0.05

0.05

0.05

0.05

Макс. погрешность нулевой точки

[кг/час]

0.001

0.010

0.050

0.200

1.500

6.000

Плотность

 

 

 

 

 

 

 

Погрешность плотности

[гр/см3]

0.001

0.0015

0.0015

0.0005

0.0005

0.0005

Погрешностьвоспроизводимости

[гр/см3]

0.0002

0.0002

0.0002

0.0001

0.0001

0.0003

Температура

 

 

 

 

 

 

 

Погрешность

[°C]

0.5

0.5

0.5

0.5

0.5

0.5

Brix

 

 

 

 

 

 

 

Погрешность

[°Brix]

0.2

0.3

0.3

0.1

0.1

0.1

 

Эталонные условия (ISO 9104 и DIN/EN 29104)

Усл овия протока

полностью сформированный профильпротока

Температура вещества

20 °C ±2 K

Внешняя температура

20 °C ±2 K

Давление жидкости

2 ± 1 бар

Плотность

0.997 гр/cm3

Brix

40 °Brix

Напряжение питания

Un ±1%

Время нагрева

30 мин.

Длина кабеля

5 м. между измерительнм преобразователем и преобразователем расхода

 

Дополнение при отклонениях от эталонных условий

Токовый выход

Как импульсный выход ± (0,1% от фактического расхода +0,05% от конечного значения )

Влияние внешней температуры

  • выход   индикации/частоты/импульсов: <±0,003% / K измеренного значения
  • токовый выход : <±0,005% / Kизмеренного значения

Влияние напряжения питания

<0,005% от измеренного значения при 1% изменения

 

Погрешность расходомера для MASS 6000/MASS 2100 DI 1.5 до DI 40

Все работающие по кориолисову принципу измерения массовые расходомеры Siemens калибруются в устройствах SIEMENS, аккредитованных для калибровки расхода. Они аккредитованы через DANAK по ISO 17025 (EN 45001 EA) и могут отслеживаться NIST. Для каждого преобразователя расхода выдается калибровочный сертификат, а в блоке памяти SENSORPROM сохранены данные и установки калибровки.

Технические параметры

Конструкции

мм

DI 1.5

DI 3

DI 6

DI 15

DI 25

DI 40

 

дюйм

1/16”

1/8”

¼”

½”

1”

1½”

Внутренний диаметр трубы(преобразователь расхода изсплошной трубы)

мм

1.5

3.0

6.0

14.0

29.7

43.1

Толщина стенки трубы

мм

0.25

0.5

1.0

1.0

2.0

2.6

Диапазон измерения массового расхода 3

кг/ч

0 ... 65

0 ... 250

0 ... 1,000

0 ... 5,600

0 ... 25,000

0 ... 52,000

Плотность

г/см3

0.1 ... 2.9

Фракция

°Brix

0 ... 100

Температура

Стандарт

°C

-50 ... +125

-50 ... +180

Версия для повышеных температур

°C

-50 ... +180

 

Давление жидкости в измерительной трубе1)

Нерж. сталь

бар

296

295

327

158

135

125

Hastelloy C22

бар

460

390

430

208

191

173

Материалы

Измерительная труба, фланец

 

1.4435 (AISI 316 L) (нерж. сталь)

Стандартное резьбовоесоединение

 

2.4602 (Hastelloy C-22)

Корпус и материал корпуса

 

IP66 и 1.4404 (AISI 316 L) (нерж. сталь)

Корпус, давление разрыва

 

70

190

190

140

90

50

Подключения к процессу2)

Фланец

  • DIN 2635, PN 40

 

 

 

DN 10

DN 15

DN 25

DN 40

  • ANSI B16.5, класс 150

 

 

 

½”

½”

1”

1½”

  • ANSI B16.5, класс 600 (класс 300)

 

 

 

½”

½”

1”

1½”

Молочная труба (резьбовое соединение, PN 16/40) 3)

  • DIN 11851

 

 

 

DN 10

DN 15

DN 25

DN 40

  • ISO 2853/BS 4825 part 4 (SS3351)

 

 

 

25 мм

25 мм

38 мм

51 мм

Зажим (PN 16) 3)

  • ISO 2853/BS 4825 часть 3 (SS3016)

 

 

 

25 мм

25 мм

38 мм

51 мм

Резьба

  • ISO 228/1, PN 100

 

G ¼“

G ¼“

 

 

 

 

  • ANSI/ASME B1.20.1, PN 100

 

¼“ NPT

¼“ NPT

 

 

 

 

Подключение кабеля

 

Универсальный штекерный разъем к преобразователю расхода 5 x 2 x 0,35 мм2 попарно скрученный и экранированный, наружный ∅ 12 мм

Ex-версия4)

 

EEx [ia] IIC T3-T6

Вес около

kg

2.6

4

8

12

48

48

1) Макс. при 20 °C (68 °F), DIN 2413, DIN 17457

2) Other connections to order, see chapter 9, ordering

3) Другие соединения на заказ, см. "Указания по заказу"4) Intrinsically safe approval: CENELEC and ASEV

 

Потеря давления

MASS 2100 DI 1.5 (1/16“)

MASS 2100 DI 3 (1/8”)

MASS 2100 DI 6 (¼“)

MASS 2100 DI 15 (½”)

MASS 2100 DI 25 (1”)

MASS 2100 DI 40 (1½”)

Погрешность расходомера для MASS 6000/MASS 2100 DI 1.5 до DI 40

Все работающие по кориолисову принципу измерения массовые расходомеры Siemens калибруются в устройствах SIEMENS, аккредитованных для калибровки расхода. Они аккредитованы через DANAK по ISO 17025 (EN 45001 EA) и могут отслеживаться NIST. Для каждого преобразователя расхода выдается калибровочный сертификат, а в блоке памяти SENSORPROM сохранены данные и установки калибровки.

 

 

Погрешность расходомера/спецификации

Преобразователь расхода MASS MC1 и преобразователь сигналов MASS 6000

 

5%

50%

100%

DN 50 (2”)

2.130 кг/час

21.300 кг/час

42.600 кг/час

DN 65 (2½”)

3.350 кг/час

43.500 кг/час

87.000 кг/час

DN 80 (3”)

5.670 кг/час

56.700 кг/час

113.400 кг/час

DN 100 (4”)

9.600 кг/час

96.000 кг/час

192.000 кг/час

DI 150 (6”)

25.500 кг/час

255.000 кг/час

510.000 кг/час

E = погрешность [%]

Z = погрешность нулевой точки [кг/час]

qm = массовый расход [кг/час]

Qmax. при 2 потеря давления при 1 гр/см3

 

Тип преобразователя расхода

MASS MC1

Диаметр преобразователя расхода

DN 50

DN 65

DN 80

DN 100

DN 150

Кол-во измерительных труб

2

2

2

2

2

Массовый расход

 

 

 

 

 

 

Линейнаяпогрешность

% от расхода

0.15

0.15

0.15

0.15

0.15

Погрешностьвоспроизводимости

% от расхода

0.1

0.1

0.1

0.1

0.1

Макс. погрешностьнулевой точки

[кг/час]

5.52

11.34

14.76

24.96

66.00

Плотность

 

 

 

 

 

 

Погрешностьплотности

(стандарт [гр/см3]

0.005

0.005

0.005

0.005

0.005

(расшир) [г/см3]

0.001

0.001

0.001

0.001

0.0001

Диапазон

[гр/см3]

0.5 ... 3.5

0.5 ... 3.5

0.5 ... 3.5

0.5 ... 3.5

0.5 ... 3.5

Погрешностьвоспроизводимости

[гр/см3]

0.0001

0.0001

0.0001

0.0001

0.0001

Температура

 

 

 

 

 

 

Погрешность

[°C]

1.0

1.0

1.0

1.0

1.0

Brix 1)

 

 

 

 

 

 

Погрешность

[°Brix]

0.21

0.21

0.21

0.21

0.21

1) Необходима расширенная калибровка плотности.

 

Технические параметры

Конструкции

мм

50

65

80

100

150

дюймы

2”

2½”

3”

4”

6”

Внутренний диаметр трубы(преобразователь расхода из сплошной трубы)

2 x 2 мм

25.0

33.7

38.0

48.3

76.1

Толщина стенки трубы

мм

1.5

1.5

2.0

2.6

3.2

Диапазон измерения массового расхода приперепаде давления в 2 бар (29 psi) при 1 гр/см3(0.036 lb/дюйм3 )

кг/ч

42.600

87.000

113.400

192.000

510.000

Плотность

г/см3

0.5 ... 3.5

Фракция

°Brix

0 ... 100

Температура

Стандарт

-50 ... +180 °C

Ex

-20 ... +180 °C

Давление жидкости в измерительной трубе

 

 

 

 

 

 

Нерж. сталь (DIN 2413, 20 °C (68 °F))

PN

100

100

100

40

40

Материалы

 

 

Измерительная труба

 

SS 1.4571 или Hastelloy C4

Фланец

 

SS 1.4571 или Hastelloy C4

Корпус

 

IP67

Материал корпуса/клеммной коробки

 

1.4301 / алюминий

Подключения к процессу

 

см. Габаритные чертежи

Электрические соединения

 

Винтовые клеммы, Pg 13,5

Длина кабеля

м

макс. 300

Подключение кабеля

 

5 x 2 x 0,35 мм2 попарно скрученный и экранированный, наружный ∅ 12 мм

Ex-версия

 

 

ATEX 1388X

 

II ½ EEx em [ib] II C T2-T6

Вес около.

кг

34

47

58

90

190

Эталонные условия (ISO 9104 и DIN/EN 29104)

Условия протока

полностью сформированный профиль протока

Температура вещества

20 °C ±2 K

Внешняя температура

20 °C ±2 K

Давление жидкости

2 ± 1 бар

Плотность

0.997 г/см3

Brix

40 °Brix

Напряжение питания

Un ±1%

Время нагрева

30 мин.

Длина кабеля

5 м между измерительнм преобразователем и преобразователем расхода

Дополнение при отклонениях от эталонных условий

Токовый выход

Как импульсный выход ± (0,1% от фактического расхода +0,05% от конечного значения)

Влияние внешней температуры

  • выход индикации/частоты/импульсов: < ±0,003% / K измеренного значения
  • токовый выход: < ±0,005% / K измеренного значения

Влияние напряжения питания

< 0,005% от измеренного значения при 1% изменения

 

Pressure drop

Перепад давления при 1 cst вязкости