0

Разделы

P300 с соединителем PMC - Датчики SITRANS P с соединителем PMC для бумажной промышленности

P300 с соединителем PMC - Датчики SITRANS P с соединителем PMC для бумажной промышленности

Технические данные

SITRANS P300 для избыточного давления с соединением PMC для бумажной промышленности

 

HART

PROFIBUS PA

Вход

 

Измеряемая величина

Избыточное давление (flush-mounted)

Интервал измерения (бесконечно регулируемый) или ном. диапазон измерения и макс. доп. тестируемое давление

Интервал измерения

Макс. доп. тестируемое давление

Ном. диапазон измерения

Макс. доп.  тестируемое давление

 

0.01 ... 1 бар изб.
(0.15 ... 14.5 psi g)

6 бар изб.
(87 psi g)

1 бар изб.
(14.5 psi g)

6 бар изб.
(87 psi g)

 

0.04 ... 4 бар изб.(0.58 ... 58 psi g)

10 бар изб.
(145 psi g)

4 бар изб.
(58 psi g)

10 бар изб.
(145 psi g)

 

0.16 ... 16 бар изб.
(2.3 ... 232 psi g)

32 бар изб.
(464 psi g)

16 бар изб.
(232 psi g)

32 бар изб.
(464 psi g)

 

В зависимости от подключения к процессу диапазон измерений может отличаться от этих значений

В зависимости от подключения к процессу диапазон измерений может отличаться от этих значений

Нижняя граница измерения

 

  • изм. ячейка с наполнителем из силиконового масла

30 мбар абс. (0.44 psi a)

Верхняя граница измерения

 

  • изм. ячейка с наполнителем из силиконового масла

100% от макс. интервала измерения

100% от макс. ном. диапазона измереня

Выход

 

Выходной сигнал

4 ... 20 мА

Цифровой сигнал PROFIBUS PA

Физика шины

-

IEC 61158-2

Защита от смены полярности

Нет

Да

Электрическое демпфирование T63 (с шагом 0,1 с)

установлен на 0,1 с (0 ... 100 с)

Точность измерения

 

Эталонные условия

Растущая характеристика Начало измерения 0 бар Разд. мембрана нерж. сталь Наполнитель - сил. масло Комнатная температура (25 °C) r: отношение интервалов измер. (r = макс. интервал измерения / установлен. интервал измерения)

Погрешность измерения (при установке граничной точки, вкл. гистерезис и повторяемость)

 

Линейная характеристика

 

≤ 0,075%

  • r ≤ 10

≤ (0.0029 · r + 0.071) %

 

  • 10 < r ≤ 30

≤ (0.0045 · r + 0.071) %

 

  • 30 < r ≤ 100

≤ (0.005 · r + 0.05) %

 

Время успокоения T63 без электр.

около 0.2 с

Долговременный дрейф при ±30 °C (±54 °F)

≤ (0.25 · r)%/5 лет

≤ 0.25%/5 лет

Воздействие внешней температуры

 

  • при -10 … +60 °C (14 … 140 °F)

≤ (0.1 · r +0.2)%

≤ 0,3%

  • при -40 ... -10 °C и +60 ... +85 °C
    (-40 ... 14 °F и 140 ... 185 °F)

≤ (0.1 · r + 0.15)%/10 K

≤ 0.25%/10 K

Влияние температуры измеряемого вещества (только для плоской мембраны)

 

  • Разность между температурой измеряемого вещества и окружающей температурой

3 мбар/10 K (0.04 psi/10 K)

Условия использования

 

Условия установки

 

Температура окружающей среды

Во взрывоопасных зонах соблюдайте температурный класс.

  • изм. ячейка с силиконовым маслом

-40 ... +85 °C (-40 ... +185 °F)

  • цифровой дисплей 

-30 ... +85 °C (-22 ... +185 °F)

  • температура хранения

-50 ... +85 °C (-58 ... +185 °F)

Климатический класс

 

Конденсация

Допускается

Класс защиты по EN 60529

IP65, IP68, NEMA 4X, чистка корпуса, устойчив к щелочам, пар до 150° C (302 °F)

Электромагнитная совместимость

 

  • Излучения и устойчивость

по EN 61326 и NAMUR NE 21

Средние условия

 

Температура изм. вещ-ва

 

  • изм. ячейка с силиконовым маслом

-40 ... +100 °C (-40 ... +212 °F)

Конструктивные условия

 

Вес (без опций)

около 1 кг (2.2 lb)

Части соприкасающиеся с изм. веществом

 

  • Изолирующая мембрана

Hastelloy C276, 2.4819

  • Наполнение измерительной ячейки

Силиконовое масло

Питание UH

 

Напряжение на клеммах изм. преобразователя

10.5 ... 42 V DC
для искробезопасной версии: DC 10,5 ... 30 V

Питание из шины

Отдельное напряжение питания

-

не требуется

Напряжение шины

 

 

  • без EEx

-

9 ... 32 В

  • в искробезопасном режиме

-

9 ... 24 В

Потребляемый ток

 

 

  • Макс. базовый ток

-

12.5 мА

  • Начальный ток ≤ базового тока

-

есть

  • Макс. ток сбоя в случае сбоя

-

15.5 мА

Электроника отключения при сбое (FDE)

-

Имеется

Сертификаты и допуски

 

Подразделение согласно руководтству по приборам давления (DRGL 97/23/EC)

Для газов флюидной группы 1 и жидкостей флюидной группы 1; отвечает требованиям согласно статье 3 раздел 3 (хорошая инженерная практика)

Взрывозащита

 

Искробезопасность "i"

PTB 05 ATEX 2048

Обозначение

Ex II 1/2 G EEx ia/ib IIB/IIC T4, T5, T6

Доп. внешняя температура

 

  • Класс температуры T4

-40 ... +85 °C (-40 ... +185 °F)

  • Класс температуры T5

-40 ... +70 °C (-40 ... +158 °F)

  • Класс температуры T6

-40 ... +60 °C (-40 ... +140 °F)

Подключение

К освидетельствованным контурам тока с макс. значениями:

Ui = 30 В, Ii = 100 мА,
Pi = 750 мВт, Ri = 300 Ω

К освидетельствованным контурам тока с макс. значениями:

прибот питания FISCO:

Ui = 17.5 В, Ii = 380 мА,
Pi = 5.32 Вт

линейный барьер:

Ui = 24 В, Ii = 250 мА, Pi = 1.2 Вт

Эффективная внутренняя емкость:

Ci = 6 нФ

Ci = 1.1 нФ

Эффективная внутренняя индуктивность:

Li = 0.4 мГн

Li ≤ 7 мГн


 

Коммуникация HART

 

Коммуникация HART

230 по 1100 Ω;

Протокол

HART Версия 5.x

ПО для компьютера

SIMATIC PDM


 

Коммуникация PROFIBUS PA

 

Одновременная коммуникация с ведущим класса 2 (макс.)

4

Установка адреса возможна с помощью

Конфигурационного прибора

Локального управления

(Стандартная установка: адрес 126)

Циклическое использование данных

 

  • Выходной байт

Одно измеряемое значение: 5 байт
Одно измеряемое значение: 10 байт

  • Входной байт

Режим работы регистра: 1 байт
Функция сброса по причине измерения: 1 байт

Профиль устройства

PROFIBUS PA профиль для устройства управления процессом 3.0, Класс B

Функциональные блоки (Function Blocks)

2

  • Аналоговый вход (Analog input)

 

  • Адаптация к задаваемым пользователем переменным процесса

Линейно возрастающая или убывающая характеристика

  • Электрическое демпфирование T63

устанавливается от 0 до 100 с

  • Функция симуляции

Выход/Вход

  • Мониторинг пределов

Один верхний и один нижний предупредительный предел и один аварийный предел

  • Регистр (Сумматор)

Может быть сброшен и установлен

Направление счета выбирается

Функция симуляции выхода регистра

  • Мониторинг пределов

Один верхний и один нижний предупредительный предел и один аварийный предел

  • Физический блок

1

Блоки преобразователя (Transducer Blocks)

2

  • Блок преобразователя давления (Pressure Transducer Block)

 

  • Мониторинг пределов сенсора

Да

  • Ввод характеристики контейнера

С макс. 31 узлом

  • Характеристика

Линейная

  • Функция симуляции

Имеется

  • Измерительный блок „Температура электроники“ (Transducer Block)

 

  • Функция симуляции

Имеется


 

Чертеж

Измерительный преобразователь для избыточного давления SITRANS P300, с соединением PMC, размеры в мм (дюймах)

Рисунок показывает SITRANS P300 с примером фланца. На этом рисунке высота поделена на H1 и H2.

H1 = Высота SITRANS P300 до определенного разреза

H2 = Высота фланца до этого определенного разреза

В размерах фланца указывается только высота Н2.

 

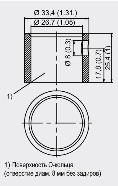
Приварная арматура тип PMC-Style Standard

Приварная арматура тип PMC-Style minibolt

 

 


Приварная арматура тип PMC-Style Standard (слева) и тип PMC-Style Minibolt (справа), размеры в мм (дюймах)

Материал: нерж. сталь 1.4404/316L

 

тип PMC-Style Standard

 

DN

PN

∅D

H2

 

 

40.4 мм (1.6“)

Ок. 36.8 мм (1.4')


 

тип PMC-Style Minibolt

 

DN

PN

∅D

H2

 

 

26.3 мм (1.0“)

Ок. 33.1 мм (1.3')


 

 

Заказные данные

Заказной №ОписаниеВес (кг)ДоставкаМин. зак. (шт)
7MF812.-.....-....ИЗМЕРИТЕЛЬНЫЙ ПРЕОБРАЗОВАТЕЛЬ SITRANS P СЕРИИ P300 С ПЛОСКОЙ РАЗДЕЛЬТЕЛЬНОЙ МЕМБРАНОЙ ПО ОПЦИИ, ЦЕЛЬНЫЙ ОДНОКАМЕРНЫЙ КОРПУС2по запросу (D)1

Заказные данные [PDF]

Загрузить PDF-файл.

Для просмотра информации в формате PDF необходимо установить Adobe Acrobat Reader.
Adobe Acrobat Reader

Аксессуары

Заказной №ОписаниеВес (кг)ДоставкаМин. зак. (шт)
7MF4997-1DAHART-МОДЕМ С ИНТЕРФЕСОМ RS232 ДЛЯ ПОДКЛЮЧЕНИЯ ИЗМЕРИТЕЛЬНЫХ ДАТЧИКОВ С HART-ПРОТОКОЛОМ К КОМПЬЮТЕРУ0.13 - 5 недель (A)1
7MF4997-1DB HART-МОДЕМ С USB-ИНТЕРФЕСОМ ДЛЯ ПОДКЛЮЧЕНИЯ ИЗМЕРИТЕЛЬНЫХ ДАТЧИКОВ С HART-ПРОТОКОЛОМ К КОМПЬЮТЕРУ 0.13 - 5 недель (A)1
7MF4997-2HAWELDABLE SOCKET FOR PMC-CONNECTION, STANDARD 1 1/2" THREADED CONNECTION0.1434 - 6 недель (B)1
7MF4997-2HBWELDABLE SOCKET FOR PMC-CONNECTION, MINIBOLT- CONNECTION 1", SUPPLIED PACKING MADE OF VITON0.0634 - 6 недель (B)1
7MF4997-2HCSEALING RING FOR PMC CONNECTION STANDARD MADE OF PTFE (5 PCS)0.05по запросу (X)1
7MF4997-2HDSEALING RING FOR PMC CONNECTION MINIBOLD MADE OF VITON (5 PCS)0.05по запросу (X)1
7MF8997-1AAMOUNTING BRACKET AND MOUNTING PARTS SITRANS P300 MADE OF STAINLESS STEEL0.5по запросу (D)1
7MF8997-1BALID WITHOUT WINDOW FOR P300 GASKET NOT INCLUDED0.3по запросу (D)1
7MF8997-1BDLID WITH GLASS WINDOW FOR P300 GASKET NOT INCLUDED0.4по запросу (D)1
7MF8997-1BGNBR HOUSING GASKET FOR P3000.1по запросу (D)1
7MF8997-1CAMEASURING POINT LABEL FOR P300 UNLABELED0.005по запросу (D)1
7MF8997-1EACABLE GLAND (M20) FOR P300 (METALL)0.005по запросу (D)1
7MF8997-1EBCABLE GLAND M20 FOR P300: PLASTIC (BLUE)0.001по запросу (D)1
A5E00090345CD -ДИСК С ДОКУМЕНТАЦИЕЙ ДЛЯ SITRANS P, DS III0.056 - 8 недель (C)1
A5E00359579INSTRUCTION MANUAL ENGLISH HART P3000.13 - 5 недель (A)1
A5E00359580INSTRUCTION MANUAL GERMAN P300 HART0.13 - 5 недель (A)1
A5E00414587INSTRUCTION MANUAL GERMAN PA P3000.13 - 5 недель (A)1
A5E00414588INSTRUCTION MANUAL ENGLISH, P300 PA0.13 - 5 недель (A)1

Аксессуары [PDF]

Загрузить PDF-файл.

Для просмотра информации в формате PDF необходимо установить Adobe Acrobat Reader.
Adobe Acrobat Reader