0

Разделы

Линейные приводы для промышленных клапанов


grey line

PA-2000

Пневматические приводы

 

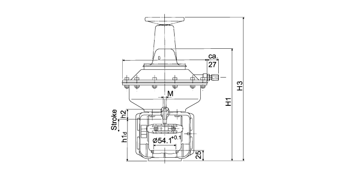
Пневматические приводы серии РА-2000 предназначены для двухпозиционного (ON/OFF) управления.

 

Приводы устанавливаются на клапаны VG8000 и VG8300 в соответствии с максимальным давлением закрытия, указанным в спецификации.

«Защитное» положение штока привода РА-2000 можно изменить на объекте с помощью дополнительного переходного комплекта.









PA-2000


• Переход на ручное управление
• Настройка направления движения на объекте
• Дополнительные устройства

plan
Размеры в мм