0

Серия 3SF7842 ASIsafe - внешняя обработка, тип 4 - Световые завесы и решетки SIMATIC FS400

Серия 3SF7842 ASIsafe - внешняя обработка, тип 4 - Световые завесы и решетки SIMATIC FS400

Световые завесы и решетки 3SF78 42 категории  4 в соответствии с  IEC/EN 61496-1, -2 (для ASIsafe)

  • Разрешение 14, 30, 50 и 90 мм
  • Глубина защитного поля от 150 мм до 3000 мм
  • 2-, 3-или 4-лучевые решетки 
  • Connection to actuator-sensor interface

Каскадное включение главного и гостевых устройств для больших глубин и длин защитных полей или для размещения под углом (как вариант).

Два стандартных монтажных кронштейна 3RG78 48-0AB прилагаются ко всем устройствам (можно заказать как принадлежности).

3SF78 42 (ASIsafe) Обзор программы

Тип устройства

Набор функций

Выход

Тип соединения

Для световых завес: Разрешение 

Для световых решеток: Дальность

14 мм

30 мм

50 мм

90 мм

Световые завесы

-

ASIsafe

ASIsafe

Световые решетки

-

ASIsafe

ASIsafe

от 0.8 м до 18 m; от 6 до 60 м


 

Дизайн

Host/guest: Cascading basic device-subsequent device

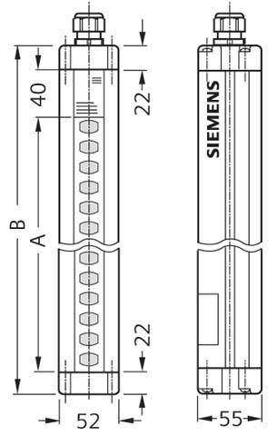
Чертеж

Стандартные световые завесы 3SF78 42 и световые решетки 3SF78 42, базовые и клиентские устройства

 

A

Высота защитного поля (см. данные для заказа)

B

Общая длина = высота защитного поля A + 84 мм


 

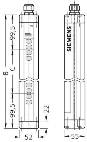
Световые рештки 3SF78 42, с раздельной обработкой, дополнительные размеры

Дополнительные размеры только для световых решеток

Тип

B

C

Лучи

3SF78 42-6M…

499 мм

300 мм

4

3SF78 42-6P…

599 мм

400 мм

3

3SF78 42-6S…

699 мм

500 мм

2