0

Разделы

Скачать Заказные данные 
SITRANS TH200/TH300 для монтажа в головку сенсора
Гибкое решение - с измерительным преобразователем  SITRANS TH200 и стандартым HART интерфейсом.

Этот универсальный преобразователь интегрирует ваши измерительные преобразователи температуры в систему комплексной автоматизации производства. Это делает возможным сохранить ваше время и деньги.

SIMATIC PDM или  HART-протокол  используется для программирования.

 

 


Особенности

Скачать Заказные данные 
SITRANS TH200/TH300 для монтажа в головку сенсора
  • двухпроводный преобразователь
  • возможность монтажа в соединительную коробку типа B (DIN 43729) или больше, или на стандартной DIN - рейке
  • коммуникация (HART протокол 5.9 для SITRANS TH300, протокол для SITRANS TH200); для программирования сенсора
  • электрически изолирован
  • искробезопасная версия для работы во взрывоопасных зонах
  • тестовые гнезда для подключения мультиметра
  • индикация статуса работы  (LED зеленый или красный)
  • специальные характеристики
  • диагностические функции с  SITRANS TH300 (подчиненный указатель, счетчик часов работы и т.д.)

 

 


Область применения

Скачать Заказные данные 
SITRANS TH200/TH300 для монтажа в головку сенсора

Измерительные преобразователи SITRANS TH200 и SITRANS TH300 могут использоваться в любой промышленности. Благодаря своему компактному размеру они могут монтироваться в соединительную головку типа B (DIN 43729) или большую. К их универсальному входному модулю могут быть подключены следующие сенсоры/источники сигнала:

 - термометр сопротивления  - термопары  - потенциометры  - источники постоянного напряжения Выходным сигналом является постоянный ток 4 - 20 мA в соответствии с характеристикой сенсора.

Измерительные преобразователи с типом защиты "искробезопасность" могут устанавливаться в потенциально взрывоопасных зонах (зона 0). Также возможно достижение степени защиты Ех n (зона 2).

 


Функции

Скачать Заказные данные 
SITRANS TH200/TH300 для монтажа в головку сенсора
Принцип действия

Выходной сигнал с термопреобразователя (2-х, 3-х, 4-х проводные схемы) или термопары преобразуется в цифровой сигнал с помощью аналого-цифрового преобразователя. Потом вычисляется на микроконтроллере (μC1), затем корректируется с характеристикой сенсора и передается на микроконтроллер (μC2), электрически изолированном. Аналоговый выход вычисляется, статус функции предварительно определен, данные с коммуникациями обработаны. По цифровому/аналоговому преобразователю, измеренное значение преобразуется в выходной токовый сигнал 4 ... 20 мA.

SITRANS TH200 и SITRANS TH300 параметрируются и эксплуатируются с помощью ПК. Сигналы требуют для коммуникации согласно  HART протокол прил. 5.9 накладывается токовый сигнал в соответствии с FSK методом. Данные, определенные для передатчика и данных для параметризации, хранятся в двух энергонезависимых памятях (EEPROM).

 

Функциональная схема SITRANS TH200 и SITRANS TH300

 


Технические данные

Скачать Заказные данные 
SITRANS TH200/TH300 для монтажа в головку сенсора

Вход

 

Термометр сопротивления

 

Измеряемая величина

Температура

Тип сенсора

 

  • По IEC 60751

Pt25 ... Pt1000

  • По JIS C 1604; a=0.00392 K-1

Pt25 ... Pt1000

  • По IEC 60751

Ni25 ... Ni1000

  • Специальный тип

Специальная характеристика (макс. 30 точек)

Коэффициент датчика

0.25 ... 10 (адаптация базового типа, напр.  Pt100 для версии Pt25 ... Pt1000)

Единицы

°C

Присоединения

 

  • Стандартное присоединение

1 термометр сопротивления (RTD) 2-х, 3-х и 4-х проводная техника

  • Вычисление среднего значения

2 идентичных термометра сопротивления в 2-х проводной технике для получения средней температуры

  • Вычисление разности

2 идентичных термометра сопротивления по 2-х проводной схеме (RTD) или (RTD 1 – RTD 2 or RTD 2 – RTD 1)

Интерфейс

 

  • 2-х проводная система

Параметрируемое сопротивление линии ≤ 100 Ω (сопротивление петли)

  • 3-х проводная система

Компенсация не требуется

  • 4-х проводная система

Компенсация не требуется

Ток сенсора

≤ 0.45 мA

Время отклика

≤ 250 мс для 1 датчика с контролем обрыва линии

Контроль обрыва линии

Может быть отключен

Контроль КЗ

Может быть отключен (регулируемое значение)

Диапазон

Параметрируемый

Мин. интервал измерения

10 °C (18 °F)

Характеристика

Линеен по температуре или специальная характеристика

Потенциометрические датчики

 

Измеряемая величина

Фактическое сопротивление

Тип сенсора

Потенциометр

Единицы

Ω

Присоединение

 

  • Нормальное присоединение

1 потенциометрический датчик (R) в 2-х, 3-х, 4-х проводных системах

  • Вычисление среднего значения

2 потенциометрических датчика в 2-х проводной версии для получения среднего значения

  • Вычисление разности

2 потенциометрических датчика по 2-х проводной схеме (R1 – R2 или R2 – R1)

Интерфейс

 

  • 2-х проводная сиситема

Параметрируемое сопротивление линии ≤ 100 Ω (сопротивление петли)

  • 3-х проводная система

Не требует баланса

  • 4-х проводная система

Не требует баланса

Ток сенсора

≤ 0.45 мA

Время отклика

≤ 250 мс для 1 датчика с контролем обрыва линии

Контроль обрыва линии

Может быть отключен

Контроль КЗ

Может быть отключен (регулируемое значение)

Диапазон

Параметрируемый, макс. 0 ... 2200 Ω

Мин. интервал измерения

5 Ω ... 25 Ω

Характеристика

Линейная по сопротивлению или специальная характеристика

Термопары

 

Измеряемая величина

Температура

Тип сенсора (термопары)

 

  • тип B

Pt30Rh-Pt6Rh по DIN IEC 584

  • тип C

W5%-Re по ASTM 988

  • тип D

W3%-Re по ASTM 988

  • тип E

NiCr-CuNi по DIN IEC 584

  • тип J

Fe-CuNi по DIN IEC 584

  • тип K

NiCr-Ni по DIN IEC 584

  • тип L

Fe-CuNi по DIN 43710

  • тип N

NiCrSi-NiSi по DIN IEC 584

  • тип R

Pt13Rh-Pt по DIN IEC 584

  • тип S

Pt10Rh-Pt по DIN IEC 584

  • тип T

Cu-CuNi по DIN IEC 584

  • тип U

Cu-CuNi по DIN 43710

Единицы

°C or °F

Присоединение

 

  • Стандартное присоединение

1 термопара (TC)

  • Вычисление среднего значения

2 термопары (TC)

  • Вычисление разности

2 термопары (TC) TC1 – TC2 or TC2 – TC1

Время отклика

≤ 250 мс для 1 датчика с контролем обрыва линии

Контроль обрыва линии

Может быть отключен

Компенсация холодного спая

 

  • Внутренняя

Со встроенным термометром сопротивления Pt100

  • Внешняя

С внешним Pt100 IEC 60571 (2-х, 3-х проводная техника)

  • Внешняя фиксированная

 

Диапазон

Параметрируемый

Мин. диапазон измерения

Мин. 50 ... 199 °C (90 ... 180 °F)

Характеристика

Линейная по температуре или специальная характеристика

Милливольтовый сенсор

 

Измеряемая величина

Постоянное напряжение

Тип сенсора

Источник постоянного напряжения (возможно задание постоянного напряжения через внешний подключенный резистор)

Единицы

мВ

Время отклика

≤ 250 мс для 1 датчика с контролем обрыва линии

Контроль обрыва линии

Может быть отключен

Контроль короткого замыкания

Может быть отключен (регулируемое значение)

Диапазон

-10 ... 70 мВ-100 1100 мВ

Мин. интервал измерения

2 мВ or 20 мВ

Перегрузочная способность входа

-1.5 ... +3.5 В пост. тока

Входное сопротивление

≥ 1 MΩ

Характеристика

Линецная по напряжению или специальная

Выход

 

Выходной сигнал

4 ... 20 мA, 2-проводная

С SITRANS TH300, коммуникация с помощью HART Rev. 5.9

Питание

11 ... 35 В пост. тока (до 30 В для EEx)

Макс. нагрузка

(Uaux – 11 V)/0.023 A

Выход за диапазон

3.6 ... 23 мA, непрерывно настраиваемый (по умолчанию: 3.84 мA ... 20.50 мA)

Ошибка сигнала (напр., в случаеобрыва сенсора)

3.6 ... 23 мA, непрерывно настраиваемый (по умолчанию: 22.8 мA)

Цикл сэмплирования

0.25 с номинальный

Демпфирование

Программируемый фильтр 1-го порядка 0 ... 30 с параметрируемый

Защита

От обратной полярности

Электрически изолирован

Входа от выхода

Погрешность измерения

 

Ошибки цифровых измерений

 

Номинальные условия

 

  • Питание

24 V ± 1%

  • Нагрузка

500 Ω

  • Температура хранения

23 °C

  • Время разогрева

> 5 мин

Погрешность на аналоговом входе

< 0.1 % от интервала

Погрешность внутреннего холодного спая

< 0.5 °C (0.9 °F)

Температурный эффект

< 0.1% от макс. интервала/10°C (18 °F)

Влияние питания

< 0.005% от интервала/V

Влияние импеданса нагрузки

< 0.012% от интервала/100 Ω

Долгосрочный дрейф

 

  • За 1 месяц

< 0.02% от макс. интервала

  • После 1 года

< 0.03% от макс. интервала

  • После 5 лет

< 0.04% от макс. интервала

Окружающие условия

 

Внешняя температура

 

Температура хранения

-40 ... +85 °C (-40 ... 185 °F)

Температура эксплуатации

-40 ... +85 °C (-40 ... 185 °F)

Относительная влажность

< 98%, конденсат

Электромагнитная совместимость

По DIN EN 61326 и NE21

Конструкция

 

Материал

Пластик, залитый

Вес

50 г (0.11 lb)

Размеры

См. "Габаритные чертежи"

Поперечное сечение жил

макс. 2.5 мм² (AWG 13)

Степень защиты EN 60529

 

  • Корпус

IP40

  • Терминалы

IP00

Допуски и сертификаты

 

Защита ATEX

 

  • "Искробезопасный" защита

II 1G EEx ia IIC T6/T4II 2(1)G EEx ia/ib IIC T6/T4

  • Тип защиты "Невоспламеняющееся оборудование с ограниченной энергией"

II 3G EEx nAL IIC T6/T4

  • Сертификат поверки по EC

PTB 05 ATEX 2040X

Взрывозащита по FM для USA и Canada (cFMUS)

 

  • FM допуск

PID 3024169

  • Степень защиты

IS Cl I, II, III, Div 1, GP ABCDEFG T4/T5/T6IS Cl I, ZN 0, 1 AEx ia IIC T4/T5/T6NI Cl I, II, III, Div 2, GP ABCDFG T4/T5/T6Cl I, ZN2, GP IIC T4/T5/T6

Требования к программному обеспечению для SIPROM T

 

Операционная система:

Windows ME, 2000 и XP; также Windows 95, 98 и 98SE, но только при подключении модема RS-232.

Заводские настройки:

  • Pt100 (IEC 751) трехпроводная
  • Диапазон измерения: 0 ... 100 °C (32 ... 212 °F)
  • Ошибка тока: 22.8 мA
  • Ток аварии: 0 °C (0 °F)
  • Демпфирование 0.0 s

 

Ошибки цифрового измерения

Термометр сопротивления

Вход

Диапазон

Мин. интервализмерения

Цифроваяпогрешность

 

°C (°F)

°C

(°F)

°C

(°F)

по IEC 60751

 

 

 

 

 

Pt25

-200 ... +850 (-328 ... +1562)

10

(18)

0.2

(0.36)

Pt50

-200 ... +850 (-328 ... +1562)

10

(18)

0.15

(0.27)

Pt100 ... Pt200

-200 ... +850 (-328 ... +1562)

10

(18)

0.1

(0.18)

Pt500

-200 ... +850 (-328 ... +1562)

10

(18)

0.15

(0.27)

Pt1000

-200 ... +350 (-328 ... +662)

10

(18)

0.15

(0.27)

по JIS C1604-81

 

 

 

 

 

Pt25

-200 ... +649 (-328 ... +1200)

10

(18)

0.2

(0.36)

Pt50

-200 ... +649 (-328 ... +1200)

10

(18)

0.15

(0.27)

Pt100 ... Pt200

-200 ... +649 (-328 ... +1200)

10

(18)

0.1

(0.18)

Pt500

-200 ... +649 (-328 ... +1200)

10

(18)

0.15

(0.27)

Pt1000

-200 ... +350 (-328 ... +662)

10

(18)

0.15

(0.27)

Ni 25 to Ni1000

-60 ... +250 (-76 ... +482)

10

(18)

0.1

(0.18)

Потенциометрические датчики

Вход

Диапазон

Мин. интервал измерения

Цифровая погрешность

 

Ω

Ω

Ω

Сопротивление

0 ... 390

5

0.05

Сопротивление

0 ... 2200

25

0.25

Термопары

Вход

Диапазон

Мин. интервал измерения

Цифровая погрешность

 

°C

(°F)

°C

(°F)

°C

(°F)

тип  B

0 ... +1820

(32 ... 3308)

100

(180)

2

(5.4)

тип C (W5)

0 ... 2300

(32 ... 4172)

100

(180)

2

(3.6)

тип D (W3)

0 ... 2300

(32 ... 4172)

100

(180)

2

(3.6)

тип E

-200 ... +1000

(-328 ... +1832)

50

(90)

1

(1.8)

тип J

-210 ... +1200

(-346 ... +2192)

50

(90)

1

(1.8)

тип K

-230 ... +1370

(-382 ... +2498)

50

(90)

1

(1.8)

тип L

-200 ... +900

(-328 ... +1652)

50

(90)

1

(1.8)

тип N

-200 ... +1300

(-328 ... +2372)

50

(90)

1

(1.8)

тип R

-50 ... +1760

(-58 ... +3200)

100

(180)

2

(3.6)

тип S

-50 ... +1760

(-58 ... +3200)

100

(180)

2

(3.6)

тип T

-200 ... +400

(-328 ... +752)

40

(72)

1

(1.8)

тип U

-200 ... +600

(-328 ... +1112)

50

(90)

2

(3.6)

Милливольтовый сенсор

Вход

Диапазон

Мин. интервализмерения

Цифровая погрешность

 

мВ

мВ

мкВ

мВ-датчик

-10 ... +70

2

40

мВ-датчик

-100 ... +1100

20

400

Цифровая погрешность - это погрешность после аналого-цифрового преобразования, включая линеаризацию и вычисление измеренной величины.

Суммарная ошибка произведена в выходном токовом сигнале  4 ... 20 мA как результат аналого-цифрового преобразования 0.1% от промежутка (цифро-аналоговая ошибка).

Полная ошибка при нормальных условиях в аналоговом выходе - это сумма от цифровой и цифро-аналоговой ошибок (а также ошибка холодного спая в случае измерения термопарой).

.

 


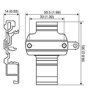
Чертеж

Скачать Заказные данные 
SITRANS TH200/TH300 для монтажа в головку сенсора

SITRANS TH200/TH300, размеры и назначение выводов, размеры в мм (дюймах)

SITRANS TH200/TH300, монтаж преобразователя на DIN-рейку

Адаптер для DIN-рейки, размеры в мм (дюймах)

 


Схема подключения

Скачать Заказные данные 
SITRANS TH200/TH300 для монтажа в головку сенсора

SITRANS TH200/TH300, схема подключения сенсоров

 


Заказные данные

Скачать Заказные данные 

Цена на сайте указана розничная в ЕВРО без учета НДС.Для уточнения цены и размера предоставляемой скидки - звоните или присылайте заявки

Заказной номерPGОписание продуктаЦена
7NG3032-.....806EMPERATURE TRANSMITTER SITRANS TR200, FOR RAIL MOUNTING, 2-WIRE SYSTEM, 4 TO 20 MA, PROGRAMMABLE, WITH GALVANIC ISOLATION; WITH DOCUMENTATION ON CD 218.36

 


Аксессуары

Скачать Заказные данные 

Цена на сайте указана розничная в ЕВРО без учета НДС.Для уточнения цены и размера предоставляемой скидки - звоните или присылайте заявки

Заказной номерPGОписание продуктаЦена
7NG3092-8KM806МОДЕМ С ИНТЕРФЕЙСОМ RS232 ДЛЯ ПАРАМЕТРИРОВАНИЯ ИЗМЕРИТЕЛЬНЫХ ПРЕОБРАЗОВАТЕЛЕЙ ТЕМПЕРАТУРЫ SITRANS TH100/200, С ПРОГРАММНЫМ ОБЕСПЕЧЕНИЕМ SIPROM T 287.26
7NG3092-8KU806МОДЕМ С USB- ИНТЕРФЕЙСОМ ДЛЯ ПАРАМЕТРИРОВАНИЯ ИЗМЕРИТЕЛЬНЫХ ПРЕОБРАЗОВАТЕЛЕЙ ТЕМПЕРАТУРЫ SITRANS TH100/200, С ПРОГРАММНЫМ ОБЕСПЕЧЕНИЕМ SIPROM T 228.96
A5E00364512806CD-ROM FOR TEMPERATURE MEASURE- MENT DEVICES WITH DOKUMENTATION AND SOFTWARE SIPROM T 7.74