0

Разделы

Линейные приводы для клапанов оконечных устройств систем вентиляции, кондиционирования и отопления


grey line

VA-7030

Двухпозиционные приводы (ON/OFF)

 


Термоэлектрический привод VA-703х обеспечивает двухпозиционное (ON/OFF) управление и предназначен для работы в системах вентиляции, кондиционирования воздуха и отопления.


Компактная конструкция привода удобна для монтажа в ограниченном пространстве, например, при установке на фэнкойл.


Приводы серии VA-703х предназначены для установки на клапаны серии VG6000.


VA-7030


• Модели с напряжением электропитания 24 VAC и 230 VAC
• Двухпозиционное (ON/OFF) или ШИМ управление
• Модели прямого и обратного действия
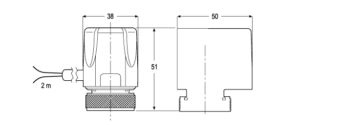
• Резьбовая монтажная гайка М30х1,5
• Заводской кабель длиной 2 м
• Вспомогательный переключатель
  (нагрузка не более 700 мА, 250 VAC)

plan
Размеры в мм